环境描述:
'当前系统版本: 4.1.0 ↑'
融合网关与核心交换机5700之间需要端口聚合!~ 2条1G资源线路,变成2G聚合方式
融合IPTV服务器调试方面
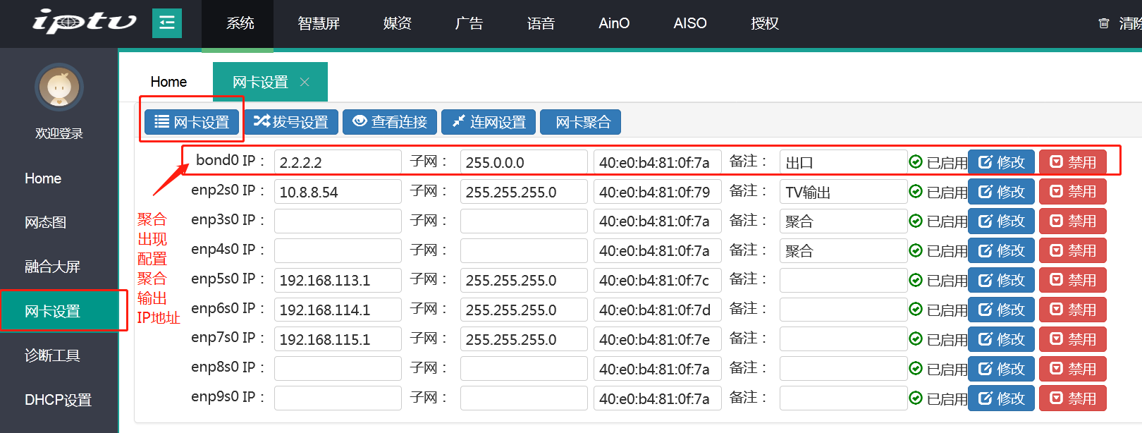
1:系统,网卡设置,挑选2个需要做聚合的口子(接好线,接好对应的,最好不要马上影响业务的口子)

2:设置聚合口子,勾选对应口子,选择模式并提交

3:配置聚合口IP地址,并查看连接状态,检测是否符合2G显示【若不正常显示,需要重启一次服务器,再次编辑提交聚合-或联系技术处理】


跑流量展示效果

华为交换机调试方面
1:个别命令很多交换机其实通过百度就可以搜索到,这里聚合敲命令贴命令!
vlan batch 2 to 4094 创建所需要的VLAN
interface Eth-Trunk1 (根据实际情况,透传所需要的VLAN)
port link-type trunk
port trunk allow-pass vlan 2 to 4094
interface GigabitEthernet0/0/1
eth-trunk 1 隶属于eth聚合组1
interface GigabitEthernet0/0/2
eth-trunk 1 隶属于eth聚合组12:检测交换机聚合是否成立

友商路由,北京派网panabit调试聚合实例
1:找到网口接口,接2条线,配置端口聚合模式在一个聚合组

文档更新时间: 2021-01-16 23:45 作者:admin